Sender Rundfunk-Geschichte Header

Sender Berlin-Voxhaus

zusammengetragen von: Jürgen Tiedmann

Rundfunksender

Sendestation / Ort Zeit Band Frequenz Meter Programm Leistung Bemerkungen
Berlin
Voxhaus
Potsdamer Str. 4
Sender Berlin 1
02.10.1923   ???     ohne   inoffizielle Versuchssendungen
29.10.1923
bis ???
MW 750,0 kHz 400,0 Deutsche Stunde 0,25 kW 1. öffentliche Rundfunksendung in Deutschland
von ???
bis
10.1924
MW 697,2 kHz 430,0 Funkstunde 0,25 kW  
10.1924
bis
05.12.1924
MW 594,1 kHz 505,0 Funkstunde 0,25 kW Gemeinsamer Betrieb mit Sender Berlin-Magdeburger Platz

Abschaltung

1907 bis 1908 entstand nach Plänen des Architekten Otto Stahn das fünfgeschossige Bürohaus in Stahlskelettbauweise in der Potsdamer Straße 4 am Potsdamer Platz in Berlin.

1920 erwarb, nach verschiedenen Umbauten, der Vorläufer des Vox-Schallplattenkonzerns das Haus und beantragte 1921 die Genehmigung zur Errichtung von zwei Sende-Antennenmasten. Der Schweizer Architekt Otto Rudolf Salvisberg führte den Umbau für die Vox-GmbH im Erd- und ersten Obergeschoss sowie die Umwandlung des vierten Obergeschosses in einen Ton-Aufnahme-Komplex durch.

     Quelle: [13] Atlantic

Im Juli 1923 (andere Quellen 15.10.1923) wurde der Rundfunk an die zivile Öffentlichkeit übergeben, da bis zu diesem Zeitpunkt das private Abhören dieses jungen Mediums in Deutschland noch als "Schwarzhören" galt und unter Strafe stand.

Obwohl der Rundfunk in Deutschland bereits im Jahr 1920 mit verzerrungsarmen Übertagungen von Sprache und Musik von der Hauptfunkstelle Königs Wusterhausen (siehe dort) Einzug gehalten hatte, welches international und unter schätzungsweise 10.000 "Schwarzhörern" in Deutschland große Beachtung fand, bedufte es noch der offiziellen (verwaltungsrechtlichen) Eröffnung des Rundfunks in Deutschland (es musste ja schließlich seine Ordnung haben!).

Am 11.10.1923 wurden die ersten festen Rundfunk-Sendeeinrichtungen eingebaut. Postdirektor Friedrich Weichart baute innerhalb von 2 Wochen den ersten Rundfunk-Sender in Berlin. Die Antenne befand sich auf dem Dach des Vox-Hauses. Sie hatte eine Länge 30 m und reichte zum Hotel Esplanade hinüber. Anfangs eine Reusenantenne, ab 1924 eine Doppel-T-Antenne.

Am 18.10.1923 erfolgten erste Sendeversuche.

Am 29. Oktober 1923, um 20 Uhr begann der regelmäßige Sendebetrieb des Rundfunks für "Jedermann" aus dem Vox-Haus Berlin in Deutschland. Ein Röhrensender strahlte ein "Programm zur Unterhaltung und Belehrung" aus, welches als "Das Wunder aus der Luft" bezeichnet wurde.

Aus einem Studio des Vox-Hauses sendete die "Deutsche Stunde/Funk-Stunde Berlin" auf Welle 400 Meter (= 749,5 kHz).

Friedrich Georg Knöpfke sprach folgende Worte:

"Achtung! Achtung! Hier ist die Sendestelle Berlin, im Vox-Haus auf der Welle 400 Meter. Meine Damen und Herren, wir machen Ihnen davon Mitteilung, daß am heutigen Tage der Unterhaltungsrundfunkdienst mit Verbreitung von Musikvorführungen auf drahtlos-telefonischem Wege beginnt. Die Benutzung ist genehmigungspflichtig ..."

Hörprobe:

   Quelle: unbekannt

Erster Rundfunksprecher war im ersten halben Jahr Max Heye.

Da der Sender Berlin-Vox-Haus nur einen begrenzten Senderadius hatte konnte er international nicht empfangen werden.
Das Programm des Senders (Deutsche Stunde/Funkstunde) wurde deshalb zeitgleich mittels Relaisübertragung von der Hauptfunkstelle Königs Wusterhausen auch gesendet (Mit Ausnahme der Sonntagskonzerte).

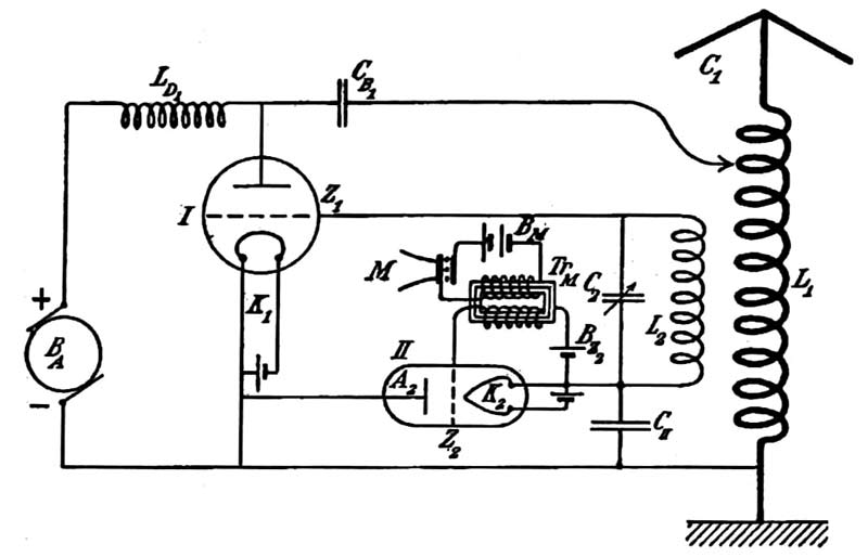
Aus Kostengründen (Hochzeit der Inflation) wurde auf vorhandene Mittel im Labor des damaligen Funk-Betriebsamtes zurückgegriffen. Es wurde ein einstufiger Sender (Oszillator S) gebaut, der mit einer zweiten Röhre (M) moduliert wurde ("Labor"-Sender). Verwendet wurden dazu Teile von alten U-Boot-Sendern mit 2 Senderöhren RS 15.

Senderöhre RS 15
Senderöhre RS 15
Quelle: [1]
Sender Oktober 1923
Sender Oktober 1923 Quelle: [4]

Die Stromversorgung bezog dieser Sender aus einem Gleichstrom-Umformer 220 V/36 V für die Heizung und von einem 1 kHz Anodenspannungs-Gleichstrom/Wechselstrom-Umformer für die Hochspannung. Nach der Gleichrichtung mittels eines Gases gefüllten Gleichrichters und der nur unvollständigen Glättung mittels eines einzigen Kondensators, blieb eine Restwelligkeit mit der Grundfrequenz 2 kHz. Dadurch war ein Pfeifton zu hören. Diese technische Qualität konnte auf Dauer nicht überzeugen, zumal weitere Geräusche des Gleichstromgenerators hörbar waren.

Der Sender war auf 4 senkrechte Holz- und Marmorschalttafeln montiert.

Von diesem Sender gibt es leider nur wenige Abbildungen und eine undeutliche Schmalfilmaufnahme.















Reproduktion eines erhaltenen
Bildes vom ersten deutschen
Rundfunksender.

Quelle: [4], [106] 11/1923 G. Goebel

Quelle: [4], [107]

Zur Aufnahme von Sprache und Musik dienten bewährte Kohlenmikrofone mit Glimmermembran der Firma Telephonfabrik A.G.

Der Aufnahmeraum befand sich in der 3. Etage des gleichen Hauses. Er wurde zur Dämpfung des Schalles mit Krepppapier und Wolldecken abgehangen. Das Mikrofon wurde auf einen Stuhl gestellt, welcher noch mit Büchern erhöht und gedämpft wurde.

     Quelle: [4]

Weihnachten 1923 wurde der "Labor"-Sender durch einen Sender der Firma Telefunken ersetzt. Der "Labor"-Sender blieb als Reserve-Sender vorläufig bestehen. Der Telefunken-Sender wurde auf einem Tisch montiert. Er wurde von Hochspannungsmaschinen versorgt und hatte damit keinen Eigenton mehr.


Sender Ende 1923

Quelle: [108]

Dieser Telefunken-Sender wurde in einigen Veröffentlichungen der Folgezeit fälschlicherweise als "der erste deutsche Rundfunksender" im Vox-Haus bezeichnet.

Quelle: [32] 1924 Quelle: [31] 20014789

Ab 1924 wurden in mehreren Stockwerken des Vox-Hauses weitere, größere Studios ausgebaut, von denen aus die "Funkstunde" bis 1933 aufgenommen wurde.

In das Programm der "Funkstunde" wurden auch Vorträge aufgenommen.
So hielt am 20.03.1924 der Reichsminister des Inneren Dr. Jarres einen Vortrag über "Das Ruhrgebiet" vor dem Mikrofon im Voxhaus:

   Quelle: [106] 1924, Heft 13, S. 540
Dr. Jarres (links) vor dem Mikrofon im Voxhaus

Im Juli 1924 wurde der Telefunken-Sender bereits wieder außer Betrieb genommen. Der offene Aufbau war, selbst für die damaligen elektrischen Sicherheitsvorschriften, zu unsicher. Er wurde durch Mitarbeiter des Telegraphentechnischen Reichsamtes mit entsprechendem Berührungsschutz nachgebaut .

Bald reichten auch die kleinen, unbelüfteten, Studios nicht mehr den Anforderungen.

Am 29.09.1924, dem einjährigen Jubiläum des Sendebeginns konnten nach Plänen des Direktors Georg Knöfke das Dachgeschoss des Vox-Hauses völlig neu ausgebaut, in Betrieb genommen werden.

     Quelle: [32] 1924

     Quelle: [32] 1924, Heft 26, S. 375

Besonders wichtig waren auch die neue Ozon- und Entlüftungsanlage sowie eine optische Signalanlage.

Hier eine Schnittzeichnung des ausgebauten Dachgeschosses:

     Quelle: [32] 1924, Heft 26, S. 376

Der große Aufnahmeraum (1) hatte genug Platz für die Instrumente und Mitwirkenden und sogar für Zuschauer. Je ein Fenster führte in den Verstärker- und Versuchsraum der Reichstelegraphenverwaltung.
Der kleine Aufnahmeraum (2) war für den Nachrichtendienst und kurze Vorträge bestimmt.
Der Betriebsverstärkerraum (3) wurde vollkommen neu hergerichtet.
Ein Versuchslaboratorium (4) diente der Reichstelegraphenverwaltung als Leiterin des technischen Sendedienstes.
Im Sammlerraum (5) standen die Akkumulatoren, vorwiegend für die Verstärker.
Ein Künstlerzimmer (6) konnte für Auftrittspausen genutzt werden.
Der Musiker-Aufenthaltsraum (7) diente dem gleichen Zweck.
Gleichfalls waren noch Nebenräume (8) vorhanden.

Am 05.12.1924 wurde der Sender im Vox-Haus abgeschaltet. Die "Funkstunde" wurde nur noch über den Sender am Magdeburger Platz abgestrahlt.

Im Zweiten Weltkrieg wurde das Vox-Haus beschädigt und nach der Instandsetzung neu vermietet.

Am 22. März 1971 erfolgte die Sprengung des Hauses und danach die Abräumung des Grundstücks wegen des Neubaus der (West)Berliner Staatsbibliothek.


Quellen: [4], [10], [13], [31], [32], [39], [106], [108], [292]

nach oben Seitenanfang Letzte Änderung dieser Seite: 13.03.2026